Thép H có kích thước với chiều dài cánh và bụng bằng nhau, dưới đây sẽ là một số những thông tin chi tiết hơn về từng kích thước phổ biến của thép hình H hiện nay. Trong bài viết này, hãy cùng phế liệu Hoàng Ngọc Diệp tìm hiểu ngay chủ đề này nhé.
Thép H là gì?
Thép hình H (hay còn gọi là thép chữ H, H-beam) là loại thép kết cấu có hình dạng mặt cắt ngang giống chữ "H" in hoa. Đây là vật liệu xây dựng chịu lực rất tốt, được sử dụng phổ biến trong các công trình công nghiệp và dân dụng lớn.

Quy cách thép hình H đúc phổ biến
- Thép hình H 100 x 100 x 6 x 8 x 12m
- Thép hình H 125 x 125 x 6.5 x 9 x 12m
- Thép hình H 150 x 150 x 7 x 10 x 12m
- Thép hình H 175 x 175 x 7.5 x 11 x 12m
- Thép hình H 200 x 200 x 8 x 12 x 12m
- Thép hình H 250 x 250 x 9 x 14 x 12m
- Thép hình H 300 x 300 x 10 x 15 x 12m
- Thép hình H 340 x 250 x 9 x 14 x 12m
- Thép hình H 350 x 350 x 12 x 19 x 12m
- Thép hình H 400 x 400 x 13 x 21 x 12m
- Thép hình H 440 x 300 x 11 x 18 x 12m

Xem thêm:
- Thép hình U là gì? Ưu điểm, quy cách và bảng giá mới nhất
- Thép hình I là gì? Phân loại, ứng dụng và bảng giá
- Thép hình V là gì? Phân loại, quy cách và bảng giá mới nhất
- Thép hình C là gì? Ưu điểm, phân loại và bảng giá mới nhất
Các mác thép hình H phổ biến hiện nay
- Mác thép Nga tiêu chuẩn: CT3 theo tiêu chuẩn: GOST 380-88 Mác
- Mác thép Nhật: SS400 theo tiêu chuẩn: JISnG3101, SB410, 3010 Mác
- Mác thép Trung Quốc: SS400, A235B theo tiêu chuẩn: JIS G3101, SB410, 3010
- Mác thép Mỹ: A36 theo tiêu chuẩn: ATSM A36
Ký hiệu thép hình H
Thép hình H được ký hiệu theo 3 tiêu chuẩn chính: HSGS, HSWS, HSBS. Chi tiết như sau:
- HSGS: Là viết tắt của thép hình H sử dụng trong kết cấu thông thường (H Sections for General Structure).
- HSWS: Đây là ký hiệu của thép hình H dùng trong kết cấu hàn (H Sections for Welded Structure).
- HSBS: Ký hiệu này ứng dụng cho thép H trong kết cấu xây dựng (H Sections for Building Structure).

Dưới đây là bảng ký hiệu và giới hạn bền kéo tương ứng của thép hình chữ H, giúp quý khách hàng lựa chọn sản phẩm phù hợp:
| Công dụng | Ký hiệu loại thép | Độ bền kéo - Mpa |
| Thép kết cấu thông thường | HSGS 400 | 400 |
| HSGS 490 | 490 | |
| HSGS 540 | 540 | |
| Thép kết cấu hàn | HSWS 400A | 400 |
| HSWS 400B | 400 | |
| HSWS 400C | 400 | |
| HSWS 490A | 490 | |
| HSWS 490B | 490 | |
| HSWS 490C | 490 | |
| HSWS 520B | 520 | |
| HSWS 520C | 520 | |
| HSWS 570 | 570 | |
| Thép kết cấu xây dựng | HSBS 400A | 400 |
| HSBS 400B | 400 | |
| HSBS 400C | 400 | |
| HSBS 490B | 490 | |
| HSBS 490C | 490 |
- Giới hạn bền kéo được tính bằng đơn vị Mpa.
Xem thêm:
- Thu mua phế liệu đồng giá tốt nhất thị trường
- Thu mua phế liệu nhôm giá tốt nhất thị trường
- Thu mua phế liệu sắt thép giá tốt nhất thị trường
- Thu mua phế liệu nhựa giá tốt nhất thị trường
- Thu mua phế liệu inox giá tốt nhất thị trường
Bảng giá thép hình H mới nhất hiện nay
Giá thép H theo kg
Thép H nội địa (SS400, Q235, A36): phổ biến từ 14.500 – 17.000 đ/kg, với các thương hiệu như Posco, An Khánh, Á Châu, Đại Việt,...
Thép H nhập khẩu mạ kẽm/chống ăn mòn: khoảng 20.000 – 25.000 đ/kg, có thể lên tới 35.000 đ/kg với các quy cách lớn

Giá tham khảo theo cây (6 m hoặc 12 m)
Theo Thép Cao Toàn Thắng:
H100×100×6×8 (17.2 kg/m): ~1.22 triệu/cây 6 m
H150×150×7×10 (31.5 kg/m): ~2.65 triệu/cây 6 m
H244×175×7×11 (44.1 kg/m): ~3.84 triệu/cây 6 m; ~7.67 triệu/cây 12 m.
Theo Thép Hùng Phát: Giá dao động từ 15.909 – 17.000 đ/kg, với quy cách từ H100 đến H500.
Theo Tôn Thép Mạnh Hà: Giá dự kiến trong khoảng 18.500 – 21.500 đ/kg tùy quy cách và nguồn hàng.
Lưu ý khi mua:
Giá phụ thuộc vào thương hiệu, xuất xứ (nội địa/nhập khẩu), kích thước và độ dày.
Chiều dài cây (6 m/12 m) và có/không VAT cũng ảnh hưởng đáng kể đến giá cuối.
Giá tham khảo và có thể biến động từng ngày — nên liên hệ trực tiếp để có báo giá chính xác theo ngày và kích thước.
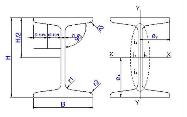
Kích thước thép hình H
Thông tin chi tiết về thông số và trọng lượng thép hình chữ H có thể xem dưới đây:
Thép H100 x 100 x 6 x 8 x 12m
Chiều cao và chiều dài bụng đều là 100mm, độ dày bụng 6mm, độ dày cánh (phần dày nhất) 8mm, chiều dài 12m. Thép nhập khẩu thường có chiều dài 12m, trong khi thép sản xuất trong nước là 6m (6000mm).
- Cân nặng: 206.4kg/cây 12m
- Nguồn gốc: Trung Quốc, An Khánh, Thái Nguyên...

Thép H125 x 125 x 6.5 x 9 x 12m
Thép H 125 có chiều cao và chiều dài bụng là 125mm, độ dày bụng 6.5mm, độ dày cánh (phần dày nhất) 9.5mm, chiều dài 12m. Thép nhập khẩu có độ dài tiêu chuẩn 12m, thép sản xuất trong nước có độ dài 6m (6000mm).
- Cân nặng: 285.6kg/cây 12m
- Nguồn gốc: Trung Quốc, An Khánh, Thái Nguyên, Malaysia...
Thép H150 x 150 x 7 x 10 x 12m
Thép H 150 có chiều cao và chiều dài bụng là 150mm, độ dày bụng 7mm, độ dày cánh (phần dày nhất) 10mm, chiều dài 12m. Độ dài tiêu chuẩn cho thép nhập khẩu là 12m ,còn thép trong nước là 6m (6000mm).
- Cân nặng: 378kg/cây 12m
- Nguồn gốc: Trung Quốc, An Khánh, Thái Nguyên, Malaysia, Posco...
Thép H175 x 175 x 7.5 x 11 x 12m
Thép H 175 có chiều cao và chiều dài bụng là 175mm, độ dày bụng 7.5mm, độ dày cánh (phần dày nhất) 11mm, chiều dài 12m. Thép nhập khẩu thường có chiều dài 12m, trong khi thép sản xuất trong nước là 6m (6000mm).
- Cân nặng: 484.8kg/cây 12m
- Nguồn gốc: Trung Quốc, Thái Lan, Malaysia, Posco, Hàn Quốc...

Thép H200 x 200 x 8 x 12 x 12m
Thép H 200 có chiều cao và chiều dài bụng là 200mm, độ dày bụng 8mm, độ dày cánh (phần dày nhất) 12mm, chiều dài 12m. Thép nhập khẩu thường có chiều dài 12m, trong khi thép sản xuất trong nước là 6m (6000mm).
- Cân nặng: 598.8kg/cây 12m
- Nguồn gốc: Trung Quốc, An Khánh, Thái Nguyên, Malaysia, Posco, Hàn Quốc...
Thép H250 x 250 x 9 x 14 x 12m
Thép H 250 có chiều cao và chiều dài bụng là 250mm, độ dày bụng 9mm, độ dày cánh (phần dày nhất) 14mm, chiều dài 12m. Thép nhập khẩu thường có chiều dài 12m, trong khi thép sản xuất trong nước là 6m (6000mm).
- Cân nặng: 868.8kg/cây 12m
- Nguồn gốc: Trung Quốc, An Khánh, Thái Nguyên, Malaysia, Posco, Hàn Quốc...
Thép H300 x 300 x 10 x 15 x 12m
Thép H 300 có chiều cao và chiều dài bụng là 300mm, độ dày bụng 10mm, độ dày cánh (phần dày nhất) 15mm, chiều dài 12m. Chiều dài của thép nhập khẩu thường là 12m, trong khi thép sản xuất trong nước là 6m (6000mm).
- Cân nặng: 1128kg/cây 12m
- Nguồn gốc: Trung Quốc, An Khánh, Thái Nguyên, Malaysia, Posco, Hàn Quốc...

Thép H340 x 250 x 9 x 14 x 12m
Thép H 340 có chiều cao cánh là 340mm, chiều dài bụng là 250mm, độ dày bụng là 9mm, độ dày cánh (phần dày nhất) là 14mm, chiều dài là 12m. Thép nhập khẩu thường có chiều dài 12m, trong khi thép sản xuất trong nước là 6m (6000mm).
- Cân nặng: 956.4kg/cây 12m
- Nguồn gốc: Trung Quốc, An Khánh, Thái Nguyên, Malaysia, Posco, Hàn Quốc...
Thép H350 x 350 x 12 x 19 x 12m
Thép H 350 có chiều cao và chiều dài bụng là 350mm, độ dày bụng 12mm, độ dày cánh (phần dày nhất) 19mm, chiều dài 12m. Thép nhập khẩu thường có chiều dài 12m, trong khi thép sản xuất trong nước là 6m (6000mm).
- Cân nặng: 1644kg/cây 12m
- Nguồn gốc: Trung Quốc, An Khánh, Thái Nguyên, Malaysia, Posco, Hàn Quốc...
Thép H400 x 400 x 13 x 21 x 12m
Thép H 400 có chiều cao và chiều dài bụng là 400mm, độ dày bụng 13mm, độ dày cánh (phần dày nhất) 21mm, chiều dài 12m. Thép nhập khẩu thường có chiều dài 12m, trong khi thép sản xuất trong nước là 6m (6000mm).
- Cân nặng: 2064kg/cây 12m
- Nguồn gốc: Trung Quốc, An Khánh, Thái Nguyên, Malaysia, Posco, Hàn Quốc...

Thép H440 x 300 x 11 x 18 x 12m
Thép H 440 có chiều cao cánh là 440mm, chiều dài bụng là 440mm, độ dày bụng là 11mm, độ dày cánh (phần dày nhất) là 18mm, chiều dài là 12m. Thép nhập khẩu thường có chiều dài 12m, trong khi thép sản xuất trong nước là 6m (6000mm).
- Cân nặng: 1488 kg/cây 12m
- Nguồn gốc: Trung Quốc, An Khánh, Thái Nguyên, Malaysia, Posco, Hàn Quốc...
Thép hình H và Thép hình I
Thép H – Dầm thép H có ý nghĩa và ứng dụng rộng rãi trong xây dựng. Thép H khác với thép I ở những điểm sau, giúp khách hàng dễ phân biệt:
- Thép I có các mặt bích song song với mặt bích ở giữa hình cánh côn, trong khi thép H có các góc vuông.
- Thép H có tiết diện tốt, cân bằng và chịu lực tốt hơn thép I.
- Thép H có kết cấu dầm thẳng, dễ cắt và hàn nối.
- Thép H có độ cứng tốt, chịu được tải trọng lớn, thường được dùng để nâng đỡ trong công trình xây dựng.
- Thép H có rãnh sâu, độ dày lớn nên chịu được lực ở nhiều hướng khác nhau.
- Thép H được dùng phổ biến trong các công trình xây dựng kết cấu lớn như tòa nhà cao tầng.
- Mặt bích cắt ngang của thép H lớn hơn thép I, do đó độ cứng lớn hơn và khả năng uốn dẻo tốt hơn.

Thép hình I và H khác nhau như thế nào?
| Thép hình I (I-Beams) | Thép hình H (H-Beams) |
| Dầm thép hình chữ I, hay còn gọi là thép hình I, được sản xuất thông qua quá trình phay hoặc cán thép theo cấu trúc hình chữ I. | Thép hình H, hay còn gọi là dầm H, là loại dầm thép được sản xuất từ thép cuộn có hình dáng giống chữ "H". Chúng được sản xuất dưới dạng các bộ phận đã được lắp ráp sẵn. Các mặt bích được kết nối với phần web thông qua hàn, tạo thành một mặt cắt hình chữ H. Dầm H cũng được biết đến với tên gọi dầm có mặt bích rộng. |
| Chùm chữ I có độ dày nhỏ hơn chùm tia H. | Dầm chữ H có bề dày lớn hơn dầm chữ I. Sự tăng độ dày này giúp dầm chữ H có sức chịu lực tốt hơn. |
| Các mặt bích của dầm chữ I có thiết kế thon với góc nghiêng 1:10 nhằm cải thiện khả năng chịu tải. Độ dày của chúng nhẹ hơn so với mặt bích của dầm H. | Bề dày của các mặt bích trên dầm chữ H đều bằng nhau và song song. Chúng có chiều dài, chiều rộng và trọng lượng lớn hơn so với dầm chữ I. |
| Mặt cắt ngang của dầm chữ I thường có độ cao lớn hơn chiều rộng, điều này giúp tăng khả năng chống lại sự cong vênh cục bộ. | Tiết diện của dầm hình chữ H được cải thiện so với dầm hình chữ I, mang lại tỷ lệ cường độ trên trọng lượng hợp lý, có nghĩa là cường độ trên mỗi đơn vị diện tích cao hơn. Dầm chữ H sở hữu diện tích mặt cắt lớn hơn, từ đó gia tăng độ bền của nó. |
| Mômen quán tính của dầm chữ I có giá trị thấp hơn so với dầm chữ H, do đó khả năng chống uốn của nó kém hơn | Khi bề mặt bích của dầm chữ H được mở rộng, mômen quán tính sẽ tăng lên và độ cứng bên cũng sẽ cao hơn. Vì vậy, dầm chữ H có khả năng chịu uốn vượt trội hơn so với dầm chữ I. |
| Dầm chữ I thích hợp cho các khoảng cách từ 33 đến 100 feet. | Dầm chữ H có khả năng chịu tải cho các nhịp dài tới 330 feet, và có thể được thiết kế với mọi kích thước và chiều cao khác nhau. |
So với thép hình I, thép hình H cung cấp các đặc tính cơ học tốt hơn, và vì thế được coi là một phương án kinh tế trong xây dựng. Dầm chữ I thường dùng làm dầm, còn dầm chữ H dùng làm cột chịu lực. Hy vọng qua bài viết trên của phế liệu Hoàng Ngọc Diệp, sẽ giúp quý độc giả hiểu rõ hơn về thép H rồi nhé.
Xem thêm:
- Thu mua phế liệu kẽm giá tốt nhất thị trường
- Thu mua phế liệu hợp kim giá tốt nhất thị trường
- Thu mua phế liệu chì giá tốt nhất thị trường
- Thu mua phế liệu thiếc ggiá tốt nhất thị trường
- Thu mua phế liệu niken giá tốt nhất thị trường
CÔNG TY TNHH XUẤT NHẬP KHẨU HOÀNG NGỌC DIỆP

